|
产品概述 电动超薄型球阀(电动对夹球阀)由DSR型电动执行器及超薄球阀组成,电动超薄型球阀(电动对夹球阀)和普通电动球阀相比具有结构紧凑,体积小,重量轻,阀座与端面法兰距离近,物料滞留少,密封性能优越等特点。通常电动对夹球阀适用于安装位置比较短的场合,广泛应用于化工、石油、制药、轻工等行业的自动控制。采用V型通道球体结构与电子式电动执行器配套可实现流量的调节。 主要技术参数 阀体 阀体形式 | 直通铸造超短阀 | 公称通径 | DN15~150mm | 公称压力 | PN1.6、2.5、4.0 6.4 MPa;ANSI 150 300 LB ;JIS 10、20 K | 法兰标准 | JIS、ANSI、GB、JB、HG等 | 连接形式 | 对夹式、法兰式 | 压盖型式 | 螺母压紧式 | 密封填料 | V型聚四氟乙烯填料、柔性石墨填料等 |
阀内件 执行机构 执行器型号 | WT系列角行程执行机构 | 主要技术参数 | 电源:AC200/220V,50/60Hz、输出力矩:50N·M~2000N·M、动作范围:0~90°,0~360° | 动作时间:15秒/30秒/60秒、保护装置:过热保护、手动操作:同附带手柄操作、限位:电气、机械二重限位 | 防护等级:相当于IP-65、位置测量:可选装开关或电位计、驱动电机:8W/E、进线接口:PE1/2〞进线线锁 |
主要性能指标 公称通径 | 15 | 20 | 25 | 32 | 40 | 50 | 65 | 80 | 100 | 125 | 150 | 允许压差 | ≤ 公称压力(MPa) | 动作范围 | 0~90°,0~360° | 泄露量Q | 按GB/T4213-92,小于额定KV0.01% | 基本误差 | ±1% | 回差 | ±1% | 死区 | ≤1%(可调) | 可调范围 | 250:1 | 350:1 |
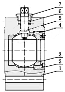
主要零件材料 1 | 阀体 | WCB、CF8、CF8M、CF3M | 
| 2 | 压圈 | 2Cr13、304、316 | 3 | 阀座 | PEFE、PPL、304、316 | 4 | 球体 | 2Cr13、304、316 | 5 | 阀杆 | 2Cr13、304、316 | 6 | 密封填料 | PTFE/柔性石墨 | 7 | 螺母压盖 | 2Cr13、304、316 |
主要外形及连接尺寸 
公称通径 DN(mm) | 15 | 20 | 25 | 32 | 40 | 50 | 65 | 80 | 100 | 125 | 150 | L | 108 | 112 | 114 | 127 | 140 | 140 | 152 | 165 | 178 | 190 | 216 | H | 112 | 115 | 120 | 140 | 170 | 180 | 210 | 240 | 290 | 320 | 350 | D | 165 | 185 | 200 | 220 | 250 | 285 | 340 | 405 | 460 | 520 | 580 | D1 | 125 | 145 | 160 | 180 | 210 | 240 | 295 | 355 | 410 | 470 | 525 | D2 | 46 | 56 | 65 | 76 | 84 | 99 | 118 | 132 | 156 | 184 | 211 | A | 根据阀门压力大小而定。配置机型不同,外形尺寸也不相同。可进入电动执行器页面查阅。 |
注:以上参数均为PN1.6MPa为准,其他压力等级请咨询公司技术部,表中尺寸为不带标准附件数据,另由于产品改进技术创新参数可能有一定变化,请咨询公司技术部门索取最新数据。
|