| 产品类别 Product series |
 |
|
|
|
|
低温截止阀
|
当前位置:首页 - 产品中心 >>
通用阀门 |
 |
|
低温截止阀适用于低温液体贮运设备的管理系统,具有开关灵活、密封可靠的特点,也可用于其他低温和深冷介质的管理系统. 执行标准: 设计与制造 | 结构长度 | 浩兰尺寸 | 压力-温度 | 试验-检验 | JB/T7749 | GB12221 | JB79 | GB9131 | JB/T9092 |
压力试验: 公称压力PN | 1.6 | 2.5 | 4.0 | 强度试验 | 2.4 | 3.8 | 6.0 | 水密封试验 | 1.8 | 2.8 | 4.4 | 上密封试验 | 1.8 | 2.8 | 4.4 | 气密封试验 | 0.4-0.7 |
主要零件材料及性能: 体盖板 | 阀杆 | 密封面 | 垫片 | 埴料 | 工作温度℃ | 适用介质 | LCB | 1Cr17Ni12 | DTL/DTL | 1Cr13/柔性石墨低温石棉 | PTFE 浸四氟乙 烯石棉绳 柔性石墨 | -46 | 丙烷/丙烯 甲醇,乙烷 煤气/液氨 | LC1 | -60 | LC2 | -73 | LC3 | 1Cr18Ni9Ti | -101 | LC4 | -115 | LC8 | -196 |
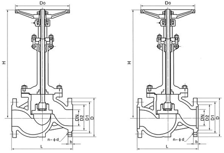
主要外形连接尺寸: 
1.6MPa | DN | L | D | D1 | D2 | b | n-Φd | H | D0 | -46℃ | 4-101℃ | -196℃ | 凸面法兰 RF DJ41Y-16L DJ41Y-16L C1 DJ41Y-16L C2 DJ41Y-16L C3 DJ41Y-16L C4 DJ41Y-16P DJ41Y-16R | 50 | 230 | 160 | 125 | 100 | 16 | 4-Φ18 | 460 | 480 | 520 | 240 | 65 | 290 | 180 | 145 | 120 | 18 | 4-Φ18 | 475 | 505 | 525 | 280 | 80 | 310 | 195 | 160 | 135 | 20 | 8-Φ18 | 520 | 550 | 590 | 280 | 100 | 350 | 215 | 180 | 155 | 20 | 8-Φ18 | 545 | 575 | 615 | 320 | 125 | 400 | 245 | 210 | 185 | 22 | 8-Φ18 | 590 | 620 | 660 | 360 | 150 | 480 | 280 | 240 | 210 | 24 | 8-Φ23 | 650 | 680 | 730 | 400 | 200 | 600 | 335 | 295 | 265 | 26 | 12-Φ23 | 850 | 880 | 930 | 400 | 250 | 730 | 405 | 355 | 320 | 30 | 12-Φ25 | 956 | 986 | 1036 | 450 | 300 | 850 | 460 | 410 | 375 | 30 | 12-Φ25 | 1095 | 1125 | 1175 | 500 | 2.5MPa | 50 | 230 | 160 | 125 | 100 | 20 | 4-Φ18 | 460 | 460 | 520 | 240 | 凸面法兰 RF DJ41Y-25L DJ41Y-25L C1 DJ41Y-25L C2 DJ41Y-25L C3 DJ41Y-25L C4 DJ41Y-25P DJ41Y-25R | 65 | 290 | 180 | 145 | 120 | 22 | 8-Φ18 | 475 | 505 | 525 | 280 | 80 | 310 | 195 | 160 | 135 | 22 | 8-Φ18 | 520 | 550 | 590 | 280 | 100 | 350 | 230 | 190 | 160 | 24 | 8-Φ23 | 545 | 575 | 615 | 320 | 125 | 400 | 270 | 220 | 188 | 28 | 8-Φ25 | 590 | 620 | 660 | 360 | 150 | 480 | 300 | 250 | 218 | 30 | 8-Φ25 | 650 | 680 | 730 | 400 | 200 | 600 | 360 | 310 | 278 | 34 | 12-Φ25 | 850 | 880 | 930 | 400 | 250 | 730 | 425 | 370 | 332 | 36 | 12-Φ30 | 956 | 986 | 1036 | 450 | 300 | 850 | 485 | 430 | 390 | 40 | 16-Φ30 | 1095 | 1125 | 1175 | 500 | 4.0MPa | 50 | 230 | 160 | 125 | 100 | 20 | 4-Φ18 | 483 | 504 | 546 | 240 | 凸面法兰 RF DJ41Y-40L DJ41Y-40L C1 DJ41Y-40L C2 DJ41Y-40L C3 DJ41Y-40L C4 DJ41Y-40P DJ41Y-40R | 65 | 290 | 180 | 145 | 120 | 22 | 8-Φ18 | 499 | 530 | 551 | 280 | 80 | 310 | 195 | 160 | 135 | 22 | 8-Φ18 | 546 | 578 | 620 | 280 | 100 | 350 | 230 | 190 | 160 | 24 | 8-Φ23 | 572 | 604 | 646 | 320 | 125 | 400 | 270 | 220 | 188 | 28 | 8-Φ25 | 620 | 651 | 693 | 360 | 150 | 480 | 330 | 2850 | 218 | 30 | 8-Φ25 | 683 | 741 | 767 | 400 | 200 | 600 | 375 | 320 | 282 | 38 | 12-Φ30 | 893 | 924 | 977 | 400 | 250 | 730 | 445 | 385 | 345 | 42 | 12-Φ34 | 1004 | 1035 | 1088 | 450 | 300 | 850 | 510 | 450 | 408 | 46 | 16-Φ34 | 1150 | 1181 | 1234 | 500 |
|
|
|
|