|
产品介绍: 国标闸阀的启闭件是闸板,闸板的运动方向与流体方向相垂直,闸阀只能作全开和全关, 不能作调节和节流。 闸阀具有流体阻力小,密封面受介质冲刷和侵蚀小。,启闭较省力,介质流向不受限制,不扰流、不降低压力,形体简单,结构长度短,制造工艺性好,适用范围广等优点。 国标铸钢闸阀的种类,按密封面配置可分为楔式闸板式闸阀和平行闸板式闸阀,楔式闸板式闸阀又可分为:单闸极式、双闸板式和弹性闸板式;平行闸板式闸阀可分为单闸板式和双闸板式。按阀杆的螺纹位置划分,可分为明杆闸阀和暗杆闸阀两种。 铸钢闸阀操作方式有:手动、齿轮传动、电动、气动等。 应用范围: 国标闸阀适用于公称压力PN1.6~6.4MPa,工作温度-29~600℃的石油、化工、制药、化肥、电力行业等各种工况的管路上,切断或接通管路介质,不能作调节和节流。适用介质为:水、油品、蒸气、酸性介质等。 结构特点与优势: 闸阀的结构设计合理,密封可靠,通道流畅,流阻系数小。 闸板、阀座密封面用铁基合金堆焊或司太立(stellite)钴基硬质合金堆焊而成,耐磨、耐高温、耐腐蚀、抗擦伤性能好、使用寿命长。 采用楔式弹性闸板或钢性楔式单闸板结构,中大口径设置滚动轴承,开关灵活,启闭轻松。 阀杆经调质及表面氮化处理,有良好的抗腐蚀性,抗擦伤性和耐磨性。 可采用各种配管法兰标准及法兰密封面型式,满足各种工程需要及用户要求。 阀体材料品种齐全,填料、垫片可根据实际工况或用户要求合理选配,能适用于各种压力、温度及介质工况。 闸阀的安装与维护应注意以下事项: 手轮、手柄及传动机构均不允许作起吊用,并严禁碰撞。 双闸板闸阀应垂直安装(即阀杆处于垂直位置 , 手轮在顶部 )。 带有旁通阀的闸阀在开启前应先打开旁通阀(以平衡进出口的压差及减小开启力 )。 带传动机构的闸阀,按产品使用说明书的规定安装。 如果阀门经常开关使用 , 每月至少润滑一次。 国标闸阀的安装使用 1.安装前须检查阀门内腔和密封面等部位,不允许有污物或砂粒附着; 2.各连接部位螺栓,要求均匀拧紧; 3.检查填料部位要求压紧,既保证填料的密封性,也要保证闸板开启灵活; 4.用户在安装阀门前,必须校对阀门型号,连接尺寸及注意介质流向,保证与阀门要求一致性; 5.用户在安装阀门时,必须预留阀门驱动的必要空间; 6.驱动装置的接线须按线路图进行; 7.闸阀产品必须定期保养,不得随意碰撞及挤压,以免影响密封。 标准规范: 设计制造标准:GB/T 12234-2007 结构长度标准:GB/T 12221-2005 连接法兰标准:GB/T 9113 压力温度等级:GB/T 12224-2005 试验检验标准:GB/T 13927-2008 性能规范: 公称压力 PN(MPa) | 试验压力(MPa) | 适用温度(℃) | 适用介质 | 强度试验 | 密封试验 | WCB | Cr5Mo | 1Cr18Ni9Ti | 1.6 | 2.4 | 1.8 | ≤425 | ≤540 | ≤600 | 水、油品、蒸气、酸性介质 | 2.5 | 3.8 | 2.8 | 4.0 | 6.0 | 4.4 | 6.4 | 9.6 | 7.1 |
零件材料与工况: 零件名称 | 材料牌号 | 阀体 | WCB | ZGCr5Mo | CF8 | CF8M ZG1Cr18Ni9Ti | CF3 | CF3 | 阀盖 | WCB | 12CrMoV ZGCr5Mo | 304 CF8 | 316 CF8M | CF3 | CF3 316L | 支架 | WCB | WCB | CF8 | CF8M | CF3 | CF3 | 闸板 | WCB | ZGCr5Mo | CF8 | CF8M | CF3 | CF3 | 阀杆 | 2Cr13 | 25Cr2MoV | 1Cr18Ni9Ti | 阀座 | 25 | 304 | 304 | 304 | 304 | 304 | 垫片、垫环、密封环 | 包覆垫片、304、增强柔性石墨 | 填料 | 增强柔性石墨 | 闸杆螺母 | ZCuA110Fe3 |
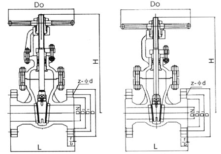
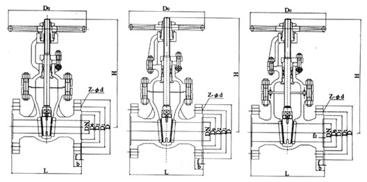
主要尺寸及重量: 
公称压力 | 公称通径DN(mm) | 主要外形尺寸及连接尺寸(mm) | 重量 (kg) | L | D | D1 | D2 | b-f | z-фd | H | Do | PN16 | 15 | 130 | 95 | 65 | 45 | 16-2 | 4-14 | 170 | 120 | 5 | 20 | 150 | 105 | 75 | 55 | 16-2 | 4-14 | 190 | 140 | 6.5 | 25 | 160 | 115 | 85 | 65 | 16-2 | 4-14 | 205 | 160 | 9 | 32 | 180 | 135 | 100 | 78 | 18-2 | 4-18 | 270 | 180 | 12 | 40 | 200 | 145 | 110 | 85 | 18-3 | 4-18 | 310 | 200 | 26.5 | 50 | 250 | 160 | 125 | 100 | 18-3 | 4-18 | 358 | 240 | 29 | 65 | 265 | 180 | 145 | 120 | 18-3 | 4-18 | 373 | 240 | 33 | 80 | 280 | 195 | 160 | 135 | 20-3 | 8-18 | 435 | 280 | 45 | 100 | 300 | 215 | 180 | 155 | 20-3 | 8-18 | 500 | 300 | 63 | 125 | 325 | 245 | 210 | 185 | 22-3 | 8-18 | 614 | 320 | 108 | 150 | 350 | 280 | 240 | 210 | 24-3 | 8-23 | 674 | 360 | 134 | 200 | 400 | 335 | 295 | 265 | 26-3 | 12-23 | 818 | 400 | 192 | 250 | 450 | 405 | 355 | 320 | 30-3 | 12-25 | 969 | 450 | 273 | 300 | 500 | 460 | 410 | 375 | 30-4 | 12-25 | 1145 | 560 | 379 | 350 | 550 | 520 | 470 | 435 | 34-4 | 16-25 | 1280 | 640 | 590 | 400 | 600 | 580 | 525 | 485 | 36-4 | 16-30 | 1452 | 640 | 850 | 450 | 650 | 64 | 585 | 545 | 40-4 | 20-30 | 1541 | 720 | 907 | 500 | 700 | 705 | 650 | 608 | 44-4 | 20-34 | 1676 | 720 | 958 | 600 | 800 | 840 | 770 | 718 | 48-5 | 20-41 | 1874 | 800 | 1112 | PN25 | 15 | 130 | 95 | 65 | 45 | 16-2 | 4-14 | 170 | | 5.5 | 20 | 150 | 105 | 75 | 55 | 16-2 | 4-14 | 190 | | 7 | 25 | 160 | 115 | 85 | 65 | 16-2 | 4-14 | 205 | | 11 | 32 | 180 | 135 | 100 | 78 | 18-2 | 4-18 | 270 | | 14 | 40 | 200 | 145 | 110 | 85 | 18-3 | 4-18 | 310 | | 30 | 50 | 250 | 160 | 125 | 100 | 20-3 | 4-18 | 358 | | 34 | 65 | 265 | 180 | 145 | 120 | 22-3 | 8-18 | 373 | | 36 | 80 | 280 | 195 | 160 | 135 | 22-3 | 8-18 | 435 | | 50 | 100 | 300 | 230 | 190 | 160 | 24-3 | 8-23 | 500 | | 69 | 125 | 325 | 270 | 220 | 188 | 28-3 | 8-25 | 614 | | 116 | 150 | 350 | 300 | 250 | 218 | 30-3 | 8-25 | 674 | | 141 | 200 | 400 | 360 | 340 | 278 | 34-3 | 12-25 | 818 | | 192 | 250 | 450 | 425 | 370 | 332 | 36-3 | 12-30 | 969 | | 207 | 300 | 500 | 485 | 430 | 390 | 40-4 | 16-30 | 1145 | | 400 | 350 | 550 | 550 | 490 | 448 | 44-4 | 16-34 | 1280 | | 631 | 400 | 600 | 610 | 550 | 505 | 48-4 | 16-34 | 1452 | | 900 | 450 | 650 | 660 | 600 | 555 | 50-4 | 20-34 | 1541 | | 1013 | 500 | 700 | 730 | 660 | 610 | 52-4 | 20-41 | 1676 | | 1166 | 600 | 800 | 840 | 770 | 718 | 56-5 | 20-41 | 1874 | | 1258 |

公称压力 | 公称通径DN(mm) | 主要外形尺寸及连接尺寸(mm) | 重量 (kg) | L | D | D1 | D2 | D6 | b-f | f2 | z-фd | H | Do | PN40 | 15 | 130 | 95 | 65 | 45 | 40 | 16-2 | 4 | 4-145 | 135 | 120 | 6 | 20 | 150 | 105 | 75 | 55 | 51 | 16-2 | 4 | 4-14 | 190 | 140 | 8 | 25 | 160 | 115 | 85 | 65 | 58 | 16-2 | 4 | 4-14 | 205 | 160 | 12 | 32 | 180 | 135 | 100 | 78 | 66 | 18-2 | 4 | 4-14 | 270 | 180 | 15 | 40 | 200 | 145 | 110 | 85 | 76 | 18-3 | 4 | 4-18 | 310 | 200 | 31 | 50 | 250 | 160 | 125 | 100 | 88 | 20-3 | 4 | 4-18 | 371 | 250 | 34 | 65 | 280 | 180 | 145 | 120 | 110 | 22-3 | 4 | 4-18 | 391 | 280 | 39 | 80 | 310 | 195 | 160 | 135 | 121 | 22-3 | 4 | 8-18 | 455 | 320 | 52 | 100 | 350 | 230 | 190 | 160 | 150 | 24-3 | 4.5 | 8-18 | 551 | 360 | 80 | 125 | 400 | 270 | 220 | 188 | 176 | 28-3 | 4.5 | 8-23 | 628 | 400 | 127 | 150 | 450 | 300 | 250 | 218 | 204 | 30-3 | 4.5 | 8-25 | 708 | 400 | 154 | 200 | 550 | 375 | 320 | 282 | 260 | 38-3 | 4.5 | 8-25 | 885 | 450 | 263 | 250 | 650 | 445 | 385 | 345 | 313 | 42-3 | 4.5 | 12-30 | 906 | 560 | 368 | 300 | 750 | 510 | 450 | 408 | 364 | 46-4 | 4.5 | 12-34 | 1203 | 640 | 547 | 350 | 850 | 570 | 510 | 465 | 422 | 52-4 | 5 | 16-34 | 1341 | 640 | 679 | 400 | 950 | 655 | 585 | 535 | 474 | 18-2 | 5 | 16-34 | 1492 | 720 | 953 | PN64 | 15 | 170 | 105 | 75 | 55 | 41 | 20-2 | 4 | 4-14 | 140 | 100 | 7 | 20 | 190 | 125 | 90 | 68 | 51 | 22-2 | 4 | 4-18 | 140 | 100 | 9 | 25 | 210 | 135 | 100 | 78 | 58 | 24-2 | 4 | 4-18 | 215 | 180 | 12 | 32 | 230 | 150 | 110 | 82 | 66 | 24-3 | 4 | 4-23 | 270 | 180 | 16 | 40 | 240 | 165 | 125 | 95 | 76 | 26-3 | 4 | 4-23 | 345 | 200 | 32 | 50 | 250 | 175 | 135 | 105 | 88 | 28-3 | 4 | 4-23 | 470 | 200 | 39 | 65 | 280 | 200 | 160 | 130 | 110 | 30-3 | 4 | 8-23 | 520 | 250 | 43 | 80 | 310 | 210 | 170 | 140 | 121 | 32-3 | 4.5 | 8-23 | 570 | 300 | 60 | 100 | 350 | 250 | 200 | 168 | 150 | 36-3 | 4.5 | 8-25 | 700 | 300 | 89 | 125 | 400 | 295 | 240 | 202 | 176 | 38-3 | 4.5 | 8-30 | 780 | 350 | 140 | 150 | 450 | 340 | 280 | 240 | 204 | 44-34 | 4.5 | 8-34 | 850 | 350 | 207 | 200 | 550 | 405 | 345 | 300 | 260 | 44-34 | 4.5 | 12-34 | 1035 | 400 | 325 | 250 | 650 | 470 | 400 | 352 | 313 | 48-34 | 4.5 | 12-41 | 1050 | 560 | 467 | 300 | 750 | 530 | 460 | 412 | 364 | 54-4 | 4.5 | 16-41 | 1470 | 640 | 590 |
|