| 产品类别 Product series |
 |
|
|
|
|
静音止回阀
|
当前位置:首页 - 产品中心 >>
通用阀门 |
 |
|
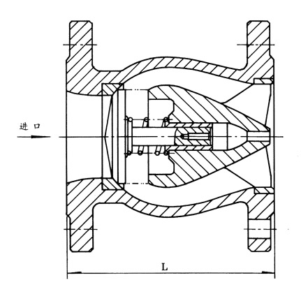
阀门型号:DRVZ、HC42T 结构特点及用途 本阀是安装在水泵出口管路上用于水泵停机时防止管路中水锤冲击水泵倒转和保护管路的安全。本阀体积小、重量轻,便于安装检修,有导向装置,关闭灵活、线性密封、止回效果佳,可有效地消除关闭噪音。 适用于给排水、消防、暖通等有关水泵出口处,以防止介质倒流及水锤对泵与管路的损害。 主要技术参数 公称压力 PN(MPa) | 1.0 | 1.6 | 2.5 | 试验压力(MPa) | 壳体强度 | 1.5 | 2.4 | 3.75 | 密封性能 | 1.1 | 1.76 | 2.75 | 工作温度 (℃) | ≤80 | 适用介质 | 水 、油品 |
主要零件材料 零件名称 | 阀体、阀座 | 阀瓣 Flap | 密封面 | 弹簧 | 材 质 | 铸铁、铸钢、铸铜、不锈钢 | 铸铜、不锈铜 | 丁晴橡胶 | 不锈钢 |
主要外形及连接尺寸 
公称通径 | L | 50 | 120 | 65 | 150 | 80 | 180 | 100 | 240 | 125 | 300 | 150 | 350 | 200 | 450 | 250 | 500 | 300 | 550 | 350 | 572 | 400 | 600 | 450 | 650 | 500 | 700 |
|
|
|
|