|
阀门型号:HH46X、HDH48X、HH49X 结构特点及用途 本公司生产的HH46X、HDH48X、HH49X微阻缓闭蝶式止回阀系列产品可用在清水、污水、海水等介质的排水管道上,既能防止介质的倒流叉能有效地限制破坏性水锤保证管线的使用安全。它具有结构新颖、体积小、重量轻、流体阻力小、密封可靠、启闭平稳、耐磨损、使用寿命长油压、缓闭不受介质影响+有较好节能效果等特点。 主要零件材料 零件名称 | 阀体 | 阀瓣 | 阀杆、油 缸、活塞 | 弹 簧 | 阀 座 | 材 料 | 铸铁、铸钢 | 碳钢 | 不锈钢 | 不锈钢 | 丁腈橡胶 |
主要技术参数 型号 | 公称 压力 PN(MPa) | 强度试验压力 | 密封 压力 (MPa) | 适用 温度 (℃) | 适用 介质 | 缓闭 时间 | HH46X HDH48X HH49X | 1.0 | 1.5 | 1.1 | ≤80 | 清水 污水 海水 | ≤60秒 | 1.6 | 2.4 | 1.76 | 2.5 | 3.75 | 2.75 |
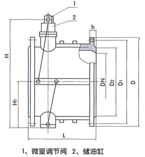
主要外形尺寸法兰连接尺寸(按JB/T79 94标准) 
公称压力 | 公称通径 | 尺 寸fmm) | L | H | H1 |
1.0 1.6 2.5
| 40 | 140 | 200 | 88 | 50 | 150 | 215 | 98 | 65 | 170 | 225 | 108 | 80 | 180 | 235 | 118 | 100 | 190 | 280 | 130 | 125 | 200 | 290 | 148 | 150 | 210 | 310 | 172 | 200 | 230 | 350 | 210 | 250 | 250 | 415 | 240 | 300 | 270 | 450 | 264 |
公称压力 | 公称通径 | 尺 寸(mm) | L | H | H1 |
1.0 1.6 2.5
| 350 | 290 | 480 | 297 | 400 | 310 | 550 | 324 | 450 | 330 | 585 | 351 | 500 | 350 | 640 | 379 | 600 | 390 | 720 | 434 | 700 | 430 | 780 | 491 | 800 | 470 | 840 | 549 | 900 | 510 | 990 | 600 | 1000 | 550 | 1050 | 655 | 1200 | 630 | 1210 | 770 |
|